1. This site uses cookies. By continuing to use this site, you are agreeing to our use of cookies. Learn More.

Walkman Archaeology

Discussion in 'Chat Area' started by Mister X, Aug 12, 2017.

  1. Mister X

    Mister X Moderator Staff Member

    Messages:
    19,192
    Trophy Points:
    113
    Location:
    Minnesota
  2. Mister X

    Mister X Moderator Staff Member

    Messages:
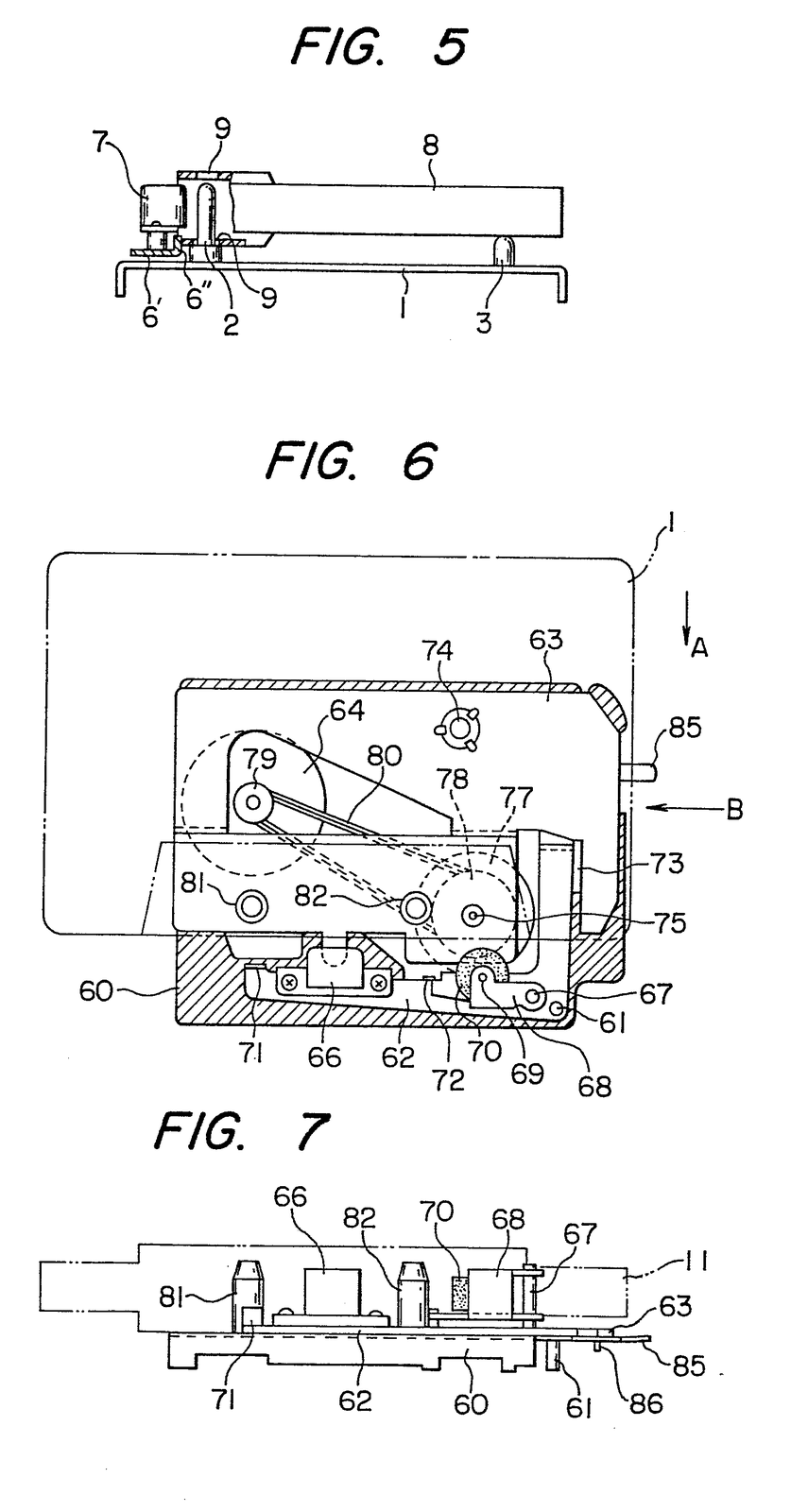
    19,192
    Trophy Points:
    113
    Location:
    Minnesota
  3. Mister X

    Mister X Moderator Staff Member

    Messages:
    19,192
    Trophy Points:
    113
    Location:
    Minnesota
  4. Mister X

    Mister X Moderator Staff Member

    Messages:
    19,192
    Trophy Points:
    113
    Location:
    Minnesota
  5. Mister X

    Mister X Moderator Staff Member

    Messages:
    19,192
    Trophy Points:
    113
    Location:
    Minnesota
    I don't think Olympus ever put out a "kangaroo boombox" but they did have a patent for one from 1980 or at least a unit with a docking station. This does mention stereo recordings so who knows?
    https://patents.google.com/patent/US4472751A/

    US4472751-drawings-page-2.png
     
  6. Mister X

    Mister X Moderator Staff Member

    Messages:
    19,192
    Trophy Points:
    113
    Location:
    Minnesota
  7. Mister X

    Mister X Moderator Staff Member

    Messages:
    19,192
    Trophy Points:
    113
    Location:
    Minnesota
  8. Mister X

    Mister X Moderator Staff Member

    Messages:
    19,192
    Trophy Points:
    113
    Location:
    Minnesota
  9. Mister X

    Mister X Moderator Staff Member

    Messages:
    19,192
    Trophy Points:
    113
    Location:
    Minnesota
  10. Mister X

    Mister X Moderator Staff Member

    Messages:
    19,192
    Trophy Points:
    113
    Location:
    Minnesota
  11. Mister X

    Mister X Moderator Staff Member

    Messages:
    19,192
    Trophy Points:
    113
    Location:
    Minnesota
  12. Mister X

    Mister X Moderator Staff Member

    Messages:
    19,192
    Trophy Points:
    113
    Location:
    Minnesota
  13. Mister X

    Mister X Moderator Staff Member

    Messages:
    19,192
    Trophy Points:
    113
    Location:
    Minnesota
  14. Longman

    Longman Well-Known Member S2G Supporter

    Messages:
    4,024
    Trophy Points:
    113
    Location:
    Bournemouth UK
    A similar concept to that kickstarter clip on player that was never going to work. On this one I see a capstan (70) and a reel hub (74). It isn't obvious how the hub would be driven though.

    in summary it is one of those £10 Play and FastForward Only personal stereos shrunk down to a clip on device.
     
    Mister X likes this.
  15. Mister X

    Mister X Moderator Staff Member

    Messages:
    19,192
    Trophy Points:
    113
    Location:
    Minnesota
    DCC And MD: Techno-Toys? Audio Magazine from December 1992. DCC in the US seemed mired in litigation, Sony bought a movie and music studio to get a seat "with the other side" which seemed to help get MD to market easier. Both of these formats were very expensive and CD players were just starting to drop in price.

    DCC And MD 1 Audio-1992-12.png
    DCC And MD 2 Audio-1992-12.png
    DCC And MD 3 Audio-1992-12.png
     
  16. Longman

    Longman Well-Known Member S2G Supporter

    Messages:
    4,024
    Trophy Points:
    113
    Location:
    Bournemouth UK
    According to Techmoan Minidisc was still stiffled in the USA.
    It was actually quite popular here in the UK with him being a big fan

     
    Mister X likes this.
  17. Mister X

    Mister X Moderator Staff Member

    Messages:
    19,192
    Trophy Points:
    113
    Location:
    Minnesota
    Battery life was so important, either batteries were expensive or you just wanted some to last a few days on your trip. From 1996 Playboy Magazine, the Sony FX511 goes 15 hours with ONE Battery!!! Amazing!

    Sony FX511 1986 Playboy Historical Archive.png
     
  18. Mister X

    Mister X Moderator Staff Member

    Messages:
    19,192
    Trophy Points:
    113
    Location:
    Minnesota
    Books on tape from 1993, Playboy Magazine

    1993 Playboy Historical Archive.png
     
  19. Mister X

    Mister X Moderator Staff Member

    Messages:
    19,192
    Trophy Points:
    113
    Location:
    Minnesota
    Some beautiful DCC Players from 1993 Playboy Magazine.

    DCC 1993 Playboy Historical Archive.png
     
  20. Longman

    Longman Well-Known Member S2G Supporter

    Messages:
    4,024
    Trophy Points:
    113
    Location:
    Bournemouth UK
    And that was the initial problem with portable CDs, and Minidisc. In his Minidisc retrospective Techmoan pointed out that the battery life of the first, expensive and heavy, Sony MZ1 portable Minidisc, which that Aiwa appears to be an AKA of, was only just long enough to play one 74 minute Minidisc.
     

Share This Page